Сканер отпечатков пальцев может быть встроен в дисплей iPhone 5S

Если верить самым последним слухам, iPhone 5S будет оснащён сканером отпечатков пальцев, который, предположительно, будет встроен в кнопку Home, однако ребята с сайта Patently Apple имеют на этот счёт другое мнение.
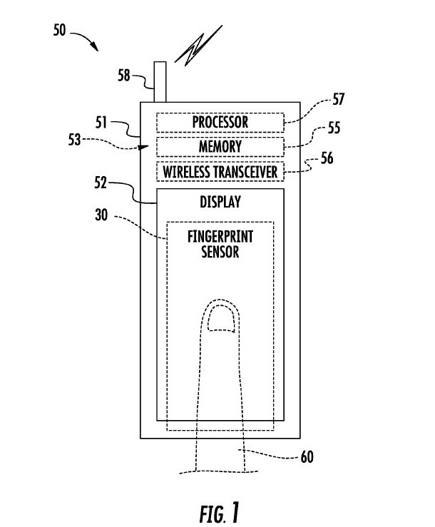
Как сообщает Patently Apple, ими была обнаружена довольно интересная патентная заявка, поданная компанией Apple в Патентное бюро США (USPTO) ещё в январе этого года. Данный патент представляет собой не что иное, как ??технологию интегрирования сканера отпечатков пальцев в дисплей смартфона.

В принципе, это имеет смысл, ведь интеграция сканера отпечатков пальцев в дисплей смартфона является более элегантным решением, чем его интеграция в физическую кнопку. К тому же, это вполне объясняет, почему Apple существенно переработала экран блокировки в iOS 7 для iPhone.
