Samsung и LG обеспокоены планами Apple по переводу Apple Watch на micro-LED

Ожидается, что до конца текущего года наряду с моделями iPhone нового поколения компания Apple выведет на рынок обновлённые версии Apple Watch. На данный момент достоверно неизвестно какие улучшения получат смарт-часы Apple третьего поколения, но согласно появившимся ещё в прошлом году слухам, они будут оснащены экранами на основе энергосберегающей технологии, более известной как micro-LED.
На данный момент производство дисплеев micro-LED обходится дороже OLED-панелей, которыми оснащены Apple Watch двух первых поколений, поэтому на протяжении последних двух лет Apple работает совместно с LuxVue (приобретена ей в 2014 году) над возможностью снизить их стоимость. Как ранее отмечал Кен Вернер из Display Daily, сложности с производством и высокая стоимость пока что не позволяют выпускать большие дисплеи, например для iPhone, но такая возможность может появиться в ближайшие пару лет.

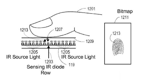
В феврале этого года Apple получила патент на технологию, связанную с micro-LED, в которой подробно описывается метод интеграции сканера отпечатков пальцев в стеклянную поверхность дисплея с помощью сенсорных инфракрасных диодов. Как утверждают источники Business Korea, такая возможность позволит компании Apple полностью отказаться от Touch ID и внедрить обновлённый дактилоскопический сканер в экраны будущих моделей своих смартфонов и смарт-часов. Всё это делает Apple Watch нового поколения идеальным кандидатом на получение дисплеев micro-LED.

Использование новых дисплеев в Apple Watch 3 поможет Apple усовершенствовать производство более крупных экранов micro-LED, подходящих для её смартфонов, а значит использование OLED-дисплеев от Samsung для iPhone 8 может быть временным. В докладе Business Korea также говорится, что помимо потери заказов на выпуск OLED-экранов на миллиарды долларов, Samsung и LG также обеспокоены тем, что Apple начнёт поиск новых поставщиков модулей оперативной памяти и камер.
******************************************
Подписывайтесь на наш канал в Telegram, чтобы быть в курсе самых последних новостей и слухов из мира Apple и других крупнейших IT-компаний мира!
Чтобы подписаться на канал Newapples в Telegram, перейдите по этой ссылке с любого устройства, на котором установлен этот мессенджер, и нажмите на кнопку «Присоединиться» внизу экрана.
